США отменили тариф 10% на импортный алюминий для Tesla Игры
США отменили тариф 10% на импортный алюминий для Tesla
06
Министерство торговли США удовлетворило просьбу компании Tesla отменить 10-процентный тариф на импортируемый
В AMD придумали интересный вариант охлаждения памяти с многослойной компоновкой Игры
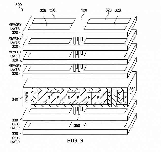
В AMD придумали интересный вариант охлаждения памяти с многослойной компоновкой
011
Компания AMD подала заявку на патент, в которой описано охлаждение микросхемы с объемной компоновкой
Процессор Ryzen 5 3600 демонстрирует подозрительно высокую производительность в тесте CPUBenchmark Игры
Процессор Ryzen 5 3600 демонстрирует подозрительно высокую производительность в тесте CPUBenchmark
08
Чем ближе старт продаж процессоров Ryzen 3000, тем больше новостей касательно этих CPU появляется в Сети.
Не только в Германии. В Нидерландах AMD также активно теснит Intel на рынке процессоров Игры
Не только в Германии. В Нидерландах AMD также активно теснит Intel на рынке процессоров
06
Мы нередко публикуем статистку продаж процессоров крупного немецкого магазина Mindfactory. В его продажах
У Samsung готова 7-нанометровая технология EUV Игры
У Samsung готова 7-нанометровая технология EUV
07
Компания TSMC первой среди производителей полупроводниковой продукции освоила выпуск продукции по нормам 7 нм.
Процессоры AMD Ryzen 9 3900X, Ryzen 7 3700X, Ryzen 5 3600X и Ryzen 5 3600 протестированы в 3D Mark Игры
Процессоры AMD Ryzen 9 3900X, Ryzen 7 3700X, Ryzen 5 3600X и Ryzen 5 3600 протестированы в 3D Mark
07
В Сети появились новые подробности о производительности процессоров AMD Ryzen 3000, точнее —
Разработкой самоуправляемых грузовиков Waymo займутся создатели игрушечного робота Игры
Разработкой самоуправляемых грузовиков Waymo займутся создатели игрушечного робота
05
Компания Anki, известная тем, что собрала на сайте Kickstarter почти 2 млн долларов на выпуск миниатюрного
Icy Dock EZConvert MB705M2P-B превращает SSD типоразмера M.2 в SSD типоразмера U.2 Игры
Icy Dock EZConvert MB705M2P-B превращает SSD типоразмера M.2 в SSD типоразмера U.2
07
С пометкой «новинка» в каталоге компании Icy Dock появилось изделие под названием EZConvert
Защищенный планшет Getac UX10 предназначен для специалистов, работающих в сложных полевых условиях Игры
Защищенный планшет Getac UX10 предназначен для специалистов, работающих в сложных полевых условиях
011
Компания Getac анонсировала выпуск защищенного планшета UX10. Он призван повысить эффективность работы
Датчики изображения Sony IMX415 и IMK485 предназначены для камер видеонаблюдения умных городов Игры
Датчики изображения Sony IMX415 и IMK485 предназначены для камер видеонаблюдения умных городов
012
Компания Sony анонсировала выпуск двух новых моделей датчиков изображения типа CMOS: IMX415 и IMK485.