Рассказывая о беззеркальных камерах Canon EOS R, представители компании Canon не раз говорили, что крепление RF позволит создавать объективы, которые будут «первыми в мире». Доказательством этого утверждения уже можно считать объектив Canon RF 28-70mm f/2L USM.
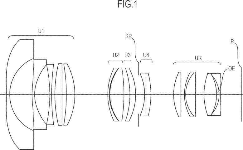
По сообщению источника, в настоящее время Canon разрабатывает не менее удивительный объектив RF 14-21mm f /1.4L USM. Его конструкция была запатентована в прошлом году, а представлен объектив будет в будущем году.
